C64 Hardware-Basteleien



Da die Umstände damals nicht so waren, daß wir einfach in den Laden gehen konnten, wurde viel selbst gelötet...

Die Schaltungen entsprechen nicht unbedingt den Orginal-Schaltungen, es wurde jeweils auf verfügbare Bauteile ausgewichen und geändert. Nur die nicht ersetzbaren Teile, speziell EPROMS und Einchip-Prozessoren, wurden "importiert".

Final Cardridge

Die Final-Cardridge III dürfte wohl den meisten 64er-Freaks bekannt sein.
Hier ein Scan des Orginal-Handbuchs, Achtung !!! 6,5MB !!!



CMOS-Karte

Die 16kB-CMOS-Ramkarte konnte als Modulkarte sehr schön für Drucker-Module, Fast-Loader, Turbo-Tape, Monitore verwendet werden. Es ging eben schön schnell, ein Modul-Programm auch an eigene Notwendigkeiten anpassen zu können und nicht immer schwer beschaffbare (und damals auch noch relativ empfindliche) Eproms löschen und brennen zu müssen.



Wiesemann Interface

Das Wiesemann-Interface erlaubte es, einen üblichen Centronics-Drucker (z.B. die 63xx-Serie von Robotron, auch als Präsident bekannt) am normalen seriellen Port des 64er wie einen echten C64-Drucker zu verwenden. Da es im Linear-Mode auch direkt mit den Epson-Codes umgehen konnte, war z.B. ein Ausdruck aus PrintFox in sehr guter Auflösung möglich.



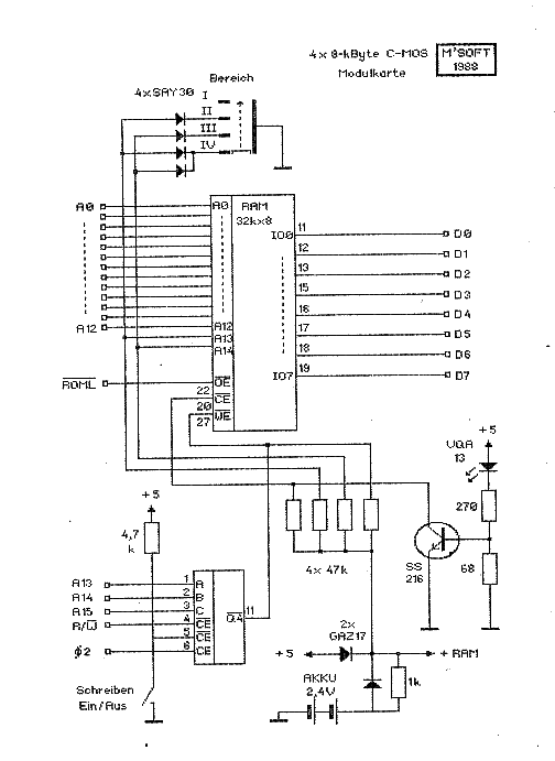
4-fach CMOS-Karte

Diese Version der CMOS-Karte bot die Möglichkeit, gleich 4 verschiedenen Module per Schalter auszuwählen.



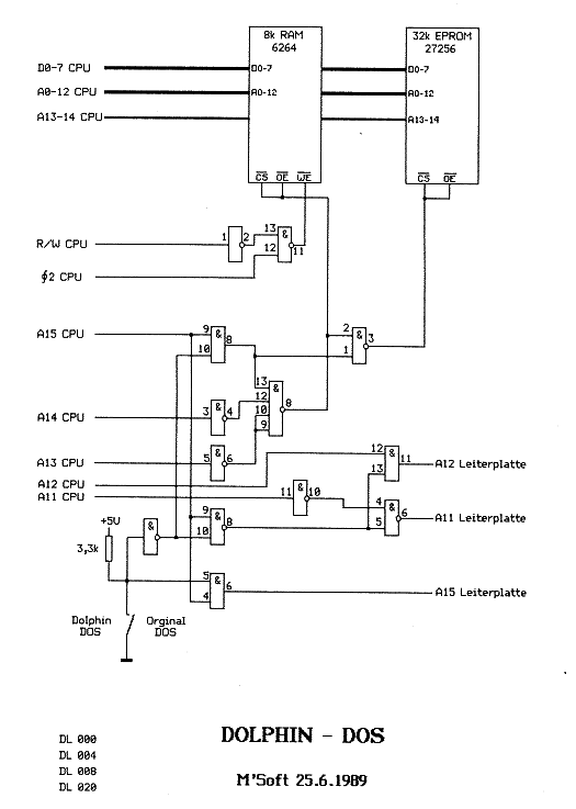
Dolphin-DOS

Dolphin-DOS war wohl neben Prologic-DOS der schnellste Hardware-Floppy-Speeder für den C64. Durch zusätzliche 8kB Ram in der Floppy konnte er in einer Umdrehung der Diskette den kompletten Track einlesen und mit dem Parallelkabel zum C64 übertragen. So wurden 202 Block (51kB) in sagenhaften 4,2 Sekunden geladen...



Die Bilder wurden übrigends mit StarPainter gezeichnet und auf einem der besagten 9-Nadler gedruckt.